苹果真的很着急,手机新技术公开,直接炸穿。 “天花板”
自华为三折叠手机大热之后,同行们似乎突然意识到多折叠屏幕的市场和趋势,都开始磨刀霍霍。
并且还把话题引向了更高的四折,到时就是“四折,怎么折,都有面”。

虽然目前折叠屏在智能手机总出货量中所占比例并不高,但其在高档型号中无疑已经成为热门品类。
根据去年相关机构的调查,高端手机用户对折叠屏幕的更换已经有了很高的意向,其中中国已经有调查用户。 20% 在下一部手机上明确选择折叠屏。

这让 2024 多年来没有推出折叠屏的苹果并不淡定,近年来频繁申请折叠屏专利也可以证明苹果对折叠屏的躁动。
但对苹果来说,在双折叠领域显然已经严重失去了领先地位,而多折叠屏幕领域或许是一个超越弯道的好机会。
而且最近,苹果新申请的专利也提到了一个新的三折叠方案,甚至更多的折叠方案,可以算是战争的终极未来。
下图 FIG.27 这是一个关于三折叠屏的方案,可以看出和华为的三折叠屏有些相似。

而 FIG.28 这是一个多折叠方案,乍一看可能会被认为是四折叠屏。
可以实际上根据专利描述,省略号位置的屏幕数量是不受限制的,可以理解为想做几折就做几折。
看起来屏风手机指日可待啊,之后谁的手机折叠得越多,谁就越有面子。

但想得很好,四折即使真的做好了,薄厚也可能不能接受。
这个华为三折叠在完全展开后已经很薄了,甚至和普通的鼠标垫一样,拿在手上已经有点怕掰了。

即便如此,它在折叠条件下还是稍微厚一点,这些问题在四折上只会更加明显。
若要使用更大屏幕的手机,或许三星的转轴屏是一个更好的解决方案。

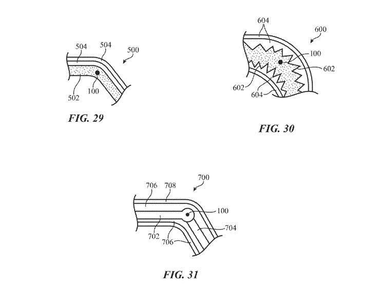
就铰链结构而言,专利显示 3 种构造。
FIG.29 这是一种软铰链结构,它可以由软泡沫、软塑料、软金属等各种柔性材料组成。
在此之前,苹果有关折叠屏专利试图用软铰链去除皱纹。

随后 FIG.30 这是一种手风琴状的铰链,底部 FIG.31 这是一个转轴结构铰链。
或许苹果想要在多折叠领域占据一线先机,但以目前的进展,探讨苹果多折叠型号何时上市显然是时间问题。
但是双折产品还是可以期待的,据供应链多次报道,苹果的折叠屏已经在弦上了。
比如之前的爆料就会出现 2025 年末制造的 20.3 目前还不清楚英尺折叠屏设备是什么? iPad 还是 Mac,水果的希望是可以触摸的 Mac。

而折叠式的 iPhone 至少要等到 2026 据报道,根本原因是折叠屏很难通过。 iPhone 高耐久性要求,进行后的褶皱问题也难以解决。
由于苹果不想推出一款不成熟的产品,导致折叠屏长期难产,这种说法可以算是符合库克时代苹果的战略风格。
然而,这种风格对于消费者来说确实很无聊,就像昨晚突然发布的那样。 iPad mini 虽然Cpu从 A15 升级成 A17 Pro 改进还是不错的,据说内存也有 8GB,但是整体升级幅度无聊到官方都懒得制作宣传视频。
但愿随后的苹果折叠屏能发出一些大声的声音。
本文来自微信微信官方账号“科技狐”(ID:kejihutv),作者:果实,36氪经授权发布。
本文仅代表作者观点,版权归原创者所有,如需转载请在文中注明来源及作者名字。
免责声明:本文系转载编辑文章,仅作分享之用。如分享内容、图片侵犯到您的版权或非授权发布,请及时与我们联系进行审核处理或删除,您可以发送材料至邮箱:service@tojoy.com




