海尔集团第10家上市公司将诞生?旗下海尔新能源正式启动IPO
已经41岁的海尔集团,仍在持续加快资本版图的扩张步伐。
2025年12月31日,海尔集团旗下专注新能源科技领域的海尔新能源科技股份有限公司(以下简称:海尔新能源)在青岛证监局完成辅导备案,正式启动首次公开募股(IPO)进程,辅导机构为国泰海通。

值得关注的是,就在2025年12月3日举办的“2025独角兽企业500强大会”上,海尔新能源刚刚荣获“全球独角兽企业”的称号。
根据海尔集团官网信息,其旗下目前已有海尔智家、雷神科技、海尔生物、盈康生命、上海莱士、新时达、汽车之家(控股)、众淼控股这8家上市公司。另外,2024年9月,海尔集团旗下的有屋智能在创业板上市失败后,转而成功登陆新三板,算上这家企业的话,海尔集团旗下的上市公司数量就达到了9家。
和有屋智能上市之路充满波折相似的还有日日顺。2024年10月,深交所发布公告称,由于日日顺主动撤回上市申请,因此终止对其首次公开发行股票并在创业板上市的审核。
经历了2024年的诸多波折后,进入2025年的海尔集团动作不断。先是在2月份完成了对A股上市公司新时达(其业务涵盖电梯控制系统和工业机器人)的收购,接着在8月,众淼控股在港交所主板成功挂牌上市。
在一年内收获两家上市公司后,海尔集团并没有停下脚步。2025年9月和12月,其旗下的工业互联网平台卡奥斯、新能源科技公司海尔新能源先后进行辅导备案,正式开启IPO征程,两家公司将共同角逐海尔集团第10家上市公司的席位。
由此可见,“海尔系”在资本市场的布局正不断向医疗、物流、家居、能源等多个行业延伸拓展。
天眼查App的信息显示,海尔新能源成立于2022年5月,曾先后使用过日日顺新能源科技有限公司、纳晖新能源科技有限公司、海尔新能源科技有限公司等名称。公司的法定代表人为董增,董事长则是解居志,他同时担任海尔集团高级副总裁、海尔电器集团有限公司执行董事兼行政总裁。资料表明,解居志曾是海尔顾服、社区店渠道业务、净水业务等板块的带头人,还曾任日日顺物联网董事长。
依托“数智化、一体化、全周期资产运营”这一核心竞争力,海尔新能源构建起了“发电→储电→管电→售电”的全产业链布局,凭借“硬件+软件+服务”一体化解决方案深耕全球市场。

在人工智能时代,海尔新能源借助AI技术重塑分布式新能源行业,其分布式智慧新能源管理平台以及源网荷储一体化方案,通过技术融合与生态协同,实现了能源效率、经济性与可持续性的三重突破。
在数智化领域,海尔新能源通过全流程的AI应用,从仿真规划、AI设计、智能装配、智慧管理到智慧运营等各个环节,全面提升运营效率和电站建设质量;
在一体化领域,海尔新能源构建了“发、储、管、售”一体化能力,升级了家庭微电网、村级微电网、工商业微电网方案矩阵,并且以移动微电网作为灵活补充,形成了多能互补的智慧能源生态;
在资产运营领域,海尔新能源打造了与大电网互济统一,兼具智慧、高效、普惠特点的能源互联网生态平台,通过绿电绿证交易、碳资产管理、虚拟电厂平台等方式,实现了从运维到数智化的能碳管理。
目前,海尔新能源的业务版图已经从国内30多个省份拓展到欧洲、澳洲、东南亚、南亚、非洲等全球50多个国家和地区。通过产学研协同创新机制,该公司已申请专利390余项,核心技术转化为了产品及方案竞争力。以其自研的AI能源机器人为例,这款机器人真正实现了能感知、能决策、能执行,成为新能源系统和负载之间智能调度、多目标寻优的智慧大脑,使综合能源利用率提升了30%以上。
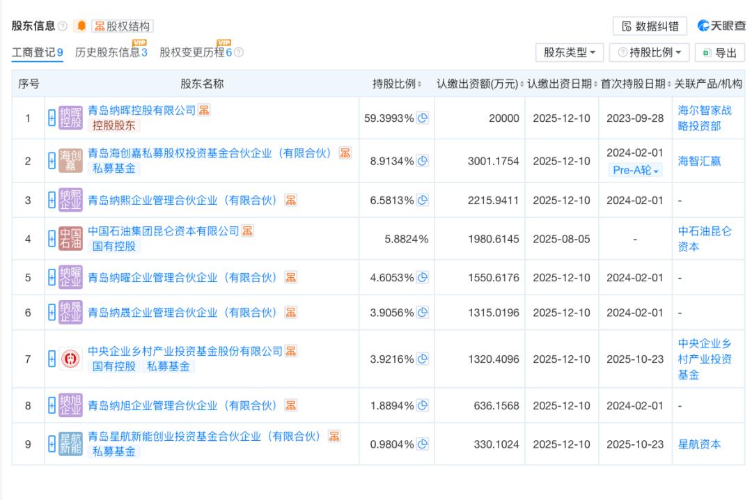
自成立近三年以来,海尔新能源首次也是迄今为止唯一一次公开披露融资消息是在2025年4月,当时该公司宣布获得国投创益、中国石油昆仑资本、普超资本、星航资本、恒旭资本等投资方超7亿元的投资。
工商变更信息显示,今年10月,海尔新能源新增了中国石油昆仑资本、国投创益旗下的中央企业乡村产业投资基金股份有限公司、恒旭资本旗下的苏州申祺利纳绿色股权投资合伙企业(有限合伙)、中金资本旗下的中金钛合绿碳科技私募股权投资基金(深圳)合伙企业(有限合伙)、星航资本旗下的青岛星航新能创业投资基金合伙企业(有限合伙)等股东,它们的持股比例分别为5.8824%、3.9216%、1.9608%、1.9608%、0.9804%。

目前,海尔新能源的控股股东是海尔集团公司的全资子公司青岛纳晖控股有限公司,直接持股比例为59.3993%。此外,海尔集团旗下的海智汇赢持股8.9134%,其余股份由员工持股平台持有。
需要注意的是,2024年7月,海尔新能源与青岛蓝谷管理局共同打造的新能源产业互联网生态园开工建设,总投资约60亿元,旨在构建一个集研发、生产、供应、销售、展示于一体的综合产业园区。该生态园一期已于2025年10月正式启动试投产。
据悉,生态园一期主要生产光伏逆变器、储能变流器、场景产品、阳台套装等产品,布局了13条专业化生产线,其中包含5条逆变器生产线与8条电路板生产线,全面覆盖了智慧能源控制器的研发、制造及销售全链条业务。
在生态园开工时,青岛纳晖智能科技有限公司(现更名为:青岛海尔智能科技有限公司,由海尔新能源100%控股)总经理赵碧云表示,围绕海尔纳晖的战略目标,生态园将建立1个智慧能源管理系统,建设2个新能源创新实验室,推动3大产业落地,打造4大应用场景,从而构建数智融合、绿色低碳、场景定制的智慧新能源产业互联网生态园区。该园区计划在建成三年内力争实现营业收入超百亿,力争2026年推动公司上市。
如今,随着海尔新能源进行辅导备案,如果进展顺利的话,2026年上市的目标或许能够如期实现。
本文来自微信公众号“直通IPO”,作者:王非,36氪经授权发布。
本文仅代表作者观点,版权归原创者所有,如需转载请在文中注明来源及作者名字。
免责声明:本文系转载编辑文章,仅作分享之用。如分享内容、图片侵犯到您的版权或非授权发布,请及时与我们联系进行审核处理或删除,您可以发送材料至邮箱:service@tojoy.com




