蓝梦欠薪风波背后:中国本土邮轮为何难逃困局?
01
2026年2月,上海宝矿国际大厦内,几名年轻人在蓝梦邮轮的LOGO前展开了一条白色欠薪横幅。
此时,蓝梦邮轮已停航近3个月,这张照片的流出让其困境公之于众。

蓝梦邮轮员工供图
据多位蓝梦邮轮前员工向旅界透露,2025年12月底停航后,公司HR开始与员工逐一沟通,以“经济性裁员”名义要求签署解除劳动合同协议,并承诺12月工资于2月10日发放,1月工资及赔偿金在3月30日到账。
然而,2月10日,员工们并未收到第一笔薪资,且至今仍未发放。
一位负责销售的前男员工表示,岸上员工约200人,欠薪总额初步统计超1000万元,单人欠款从数万到30余万不等,涵盖工资、报销及离职赔偿。
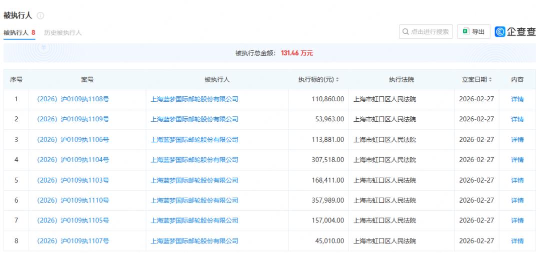
企查查数据显示,上海蓝梦国际邮轮股份有限公司近期有8起案件成为被执行人,多起执行立案时间集中在2026年2月27日。

一位持有无固定期限劳动合同、在蓝梦工作多年的前女员工称,平台数据只是冰山一角,目前岸上员工已分四批向法院立案,第一批调解书于2月27日获法院登记立案。她本人属于第三批,被欠款数十万元,上周刚提交材料,尚未收到立案通知。
蓝梦邮轮的欠薪问题,始于2025年12月25日。当天,公司以系统性硬件升级与保养为由宣布停航,合作旅行社、港口、物供方均毫无准备。有员工爆料,蓝梦拖欠合作方款项超5000万元,且停航前的11月还在发布2026年航线计划。
今年3月,蓝梦邮轮曾宣布旗下“蓝梦之歌”号将转手给俄罗斯运营商,运营远东航线,但熟悉情况的前员工透露,交易尚未完成,且即便卖船,款项也会进入第三方公司,无法用于支付欠薪。横幅点名国航远洋,是因为蓝梦与国航远洋的股权结构紧密相关——蓝梦实控人王鹏同时担任福建国航远洋副董事长,其父王炎平为该公司董事长,国航远洋曾通过福建中运投资持有蓝梦约40%股权。

2月9日,蓝梦邮轮法人及董事长变更,王鹏换成林恩杰,股权剥离未完成,法人已先行变更。屋漏偏逢连夜雨,今年2月,“蓝梦之歌”轮因约59.9万美元燃油欠款在北海被法院扣押。
这一幕对观察中国邮轮业的人来说并不陌生。“蓝梦之歌”的姊妹船“蓝梦之星”前身是钻石国际邮轮旗下“辉煌号”,曾因欠薪1200万元被司法变卖,蓝梦接盘后改名复航,却重蹈覆辙。更早前,海航旗下海娜邮轮因债务纠纷被韩国扣押,渤海邮轮购入“中华泰山号”后连续亏损,最终剥离邮轮业务。十年间,从海娜、钻石到蓝梦,本土邮轮的退场总伴随着欠薪、扣船与诉讼,体面收场成了奢望。
02
剖析国内邮轮公司的困境,表面看各有原因,但深层共性在于:这门生意未被当作长期事业经营。
邮轮业是重资产行业,一艘中型邮轮造价5-10亿美元,每年固定支出(船员工资、燃油、港口费等)达5000万-1亿美元,回报周期以十年计。国际邮轮巨头如MSC地中海邮轮、皇家加勒比,均以长期经营为核心,MSC由Aponte家族代代传承,保持每年新增一艘新船的节奏;皇家加勒比成立超58年,靠完善体系支撑全球布局。

反观中国玩家,资本通常只有2-3年耐心,与行业十年以上的周期不匹配。他们多购买国际二手旧船,遇市场波动或母公司战略收缩,便率先出清邮轮业务。这些公司多由地产商、港口方、航运集团跨界而来,邮轮只是多元化尝试,而非核心主业,撤退决心来得快。
在此背景下,爱达邮轮的出现值得关注。2024年1月,中国首艘自主设计建造的大型邮轮“爱达·魔都号”首航,由中国船舶集团旗下上海外高桥造船建造,引入国际运营团队。今年3月,“爱达·花城号”计划出坞,船队雏形初现。爱达虽仍在爬坡,盈利尚早,但代表中国在邮轮供应链上游建立了话语权。

今年3月,招商维京游轮转让“招商伊敦号”,底价29亿元,这艘中国首艘悬挂五星红旗的豪华邮轮落幕。招商蛇口选择体面退出,但行业更需要愿意深耕的玩家,否则类似故事只会重复。
03
招商伊敦号转让释放出强烈信号:即便财力雄厚的巨头,也难跨越邮轮运营的高门槛。投机玩家出局、跨界资本撤退,中国邮轮母港正经历洗牌。
当前市场中,外资如MSC荣耀号、皇家加勒比海洋光谱号深耕上海超十年,搭建了本地供应链、中文服务、会员体系;国资爱达背靠中国船舶集团,逐步扩大船队。留给新进入者的空间日益狭窄。

MSC荣耀号船上表演/旅界实拍
行业还面临地缘政治、港口资源等变量。中东局势紧张曾导致中国乘客滞留,日韩航线若受影响将是致命打击;釜山等港口接待量饱和,限制靠泊频次,母港城市需协助开拓新目的地。

迪拜帆船酒店/旅界实拍
行业正倒逼运营商创新,如MSC开启上海与釜山双母港运营,中国游客赴韩、韩国游客赴沪,实现双向引流。而国内多数邮轮公司仍停留在卖船票阶段。
未来国内邮轮市场的新进入者,需是有国际经验和长线资金的专业玩家,或像爱达一样背靠国家战略、布局产业链。靠短期资本和热情进入的企业,已被十年行业实践证明难以持久。中国邮轮产业不缺进场勇气,更缺留下来深耕的意志。
本文来自微信公众号“旅界”,作者:theodore熙少,36氪经授权发布。
本文仅代表作者观点,版权归原创者所有,如需转载请在文中注明来源及作者名字。
免责声明:本文系转载编辑文章,仅作分享之用。如分享内容、图片侵犯到您的版权或非授权发布,请及时与我们联系进行审核处理或删除,您可以发送材料至邮箱:service@tojoy.com





