GMV曾破2亿,联合利华前代运营商倒在美妆TP商盈利困局
2025年下半年,美妆行业破产浪潮持续蔓延,上下游企业均受冲击。
近日,聚美丽从全国企业破产重整案件信息网了解到,美妆TP服务商上海亿朵网络科技有限公司(简称“亿朵电商”)已进入破产清算程序,名下资产公开拍卖。

△图片截自全国企业破产重整案件信息网
早在今年三月,亿朵电商前员工杜晶晶就以公司“无法清偿到期债务且明显缺乏清偿能力”为由,向上海市浦东新区人民法院申请破产清算。之后的职工债权公示显示,亿朵电商拖欠数名员工工资共61万元,经营困境暴露无遗。
一家曾位列个护家清行业增长榜首位的亿朵电商,为何走向破产?
成立3月内,旗下平台GMV破千万!
国家企业信用信息公示系统显示,亿朵电商2014年成立,注册资本761.51万元,专注大健康领域,为品牌提供一站式全球健康渠道链接、品牌营销、供应链及新品孵化等服务,涵盖保健、滋补、健康个护、食品及母婴等品类。
亿朵电商旗下平台世销网2019年6月成立,运营仅五个月就与汤臣倍健、哈药、同仁堂等20余家健康品类头部品牌合作。
其旗下子公司上海支婕在招聘平台披露信息显示,亿朵电商合作的美妆护肤类客户有联合利华、AHC等国际知名品牌。

△图片截自招聘平台
业绩快速增长让亿朵电商受资本青睐。2019年以来,它相继获真格基金、宁波复星锐正创业投资合伙企业(有限合伙)、厦门唯易瞰枫创业投资合伙企业(有限合伙)等投资机构投资,融资金额达数千万元。

△图片截自企查查
资本助力下,亿朵电商抢占市场份额。抖音电商营销观察显示,2023年5 - 6月,亿朵电商位列个护家清类服务商增长榜首位,是当时抖音生态中增速突出的TP企业之一。

△图片截自抖音电商营销观察微信公众号
然而,高速扩张也埋下隐患。2023年4月,有小红书用户发“避雷亿朵电商”帖子,称“工资都发不起还招人”,自己也被亿朵电商拖欠工资。

△图片截自小红书
可见,2023年高增长背后,亿朵电商隐患初现,为破产埋下伏笔。
强制执行、拖欠工资......拖垮亿朵电商?
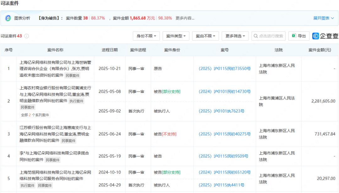
企查查显示,2022年起,亿朵电商陷入多起司法案件纠纷,涉案金额超1800万元。

△图片截自企查查
此外,亿朵电商29次被列为被执行人,被执行总金额197.25万元;今年9月,新增两起被执行案件,金额合计539.68万元。

△图片截自企查查
同时,2023年5月以来,亿朵电商及其法定代表人贾明共受22次限制高消费令。
屡次司法案件纠纷让亿朵电商经济压力巨大,经营愈发困难。
全国企业破产重整案件信息网披露的职工债权核查清单证实,亿朵电商拖欠员工薪资。

△图片截自全国企业破产重整案件信息网
公示清单显示,亿朵电商累计拖欠36名员工薪资超61万。前员工杜晶晶被拖欠金额最高,达11.63万元,这成了压垮公司的最后一根稻草。
目前,因拖欠员工工资及多家银行借款,上海邦信阳律师事务所依法在阿里资产拍卖平台对亿朵电商旗下商标、办公设备、电子设备及对外应收账款等资产公开拍卖,宣告亿朵电商的TP商之路走到尽头。
2025下半年,依旧很难
聚美丽今年8月初汇总上半年化妆品企业破产情况,涉及代理商、生产商及品牌企业。发现上半年破产潮加剧,8个月近40家企业破产。
其中,有化妆品百强代理商苏州爱尚,还有老牌企业漳州漳富化妆品有限公司和北京高姿化妆品有限公司等纷纷破产。
不到一个月,破产情况未减缓。亿朵电商等化妆品上下游企业也受影响,进入破产程序。

截至今年9月17日,全国已有66件化妆品企业的破产/强制清算案件公示。多数企业因业绩下滑、合同纠纷、资金链断裂等问题被迫终止运营。
这表明,当前全球经济承压,美妆行业洗牌加剧,破产浪潮席卷产业链上下游,不断有企业离场或挣扎在清算边缘。
亿朵电商破产,撕开了美妆TP赛道高GMV滤镜下的盈利窘境。从2025上半年披露数据看,几家头部TP商中,仅若羽臣一家实现营利双增,其余6家业绩下滑。凯淳股份营业收入垫底,仅1.62亿元,同比跌幅达21.67%。可见,美妆TP商正面临严峻考验。
经济下行、消费疲软,美妆行业淘汰赛加速,只有具备健康现金流和可持续模式的企业,才能在浪潮中留存,坚持长期主义。
消息来源:全国企业破产重整案件信息网,招聘平台官网,小红书、企查查app,抖音电商营销观察微信公众号
本文来自微信公众号“聚美丽”(ID:jumeili - cn),作者:左祐,36氪经授权发布。
本文仅代表作者观点,版权归原创者所有,如需转载请在文中注明来源及作者名字。
免责声明:本文系转载编辑文章,仅作分享之用。如分享内容、图片侵犯到您的版权或非授权发布,请及时与我们联系进行审核处理或删除,您可以发送材料至邮箱:service@tojoy.com




