“散户”累计购买超过100亿!牛股两倍,资金流入公布
两倍牛股中百集团资金流入的面纱被揭开。
十二月三十日,据深交所介绍,中百集团11月28日至12月30日累计上涨204.87%,股价出现严重异常波动,其中自然人购买185.14亿元,占85.60%。;其中,中小投资者累计购买103.36亿元,占47.79%。该机构投资者累计购买31.15亿元,占14.4%。
根据市场分析,中百集团的这一轮飙升与拉动消费政策的预期密切相关。值得注意的是,在股价持续上涨的背景下,公司未能扭转经营亏损的趋势。此外,永辉超市此前“清仓”中百集团,不再拥有中百集团a股。
购买超过百亿的中小投资者
中百集团再次涨停。
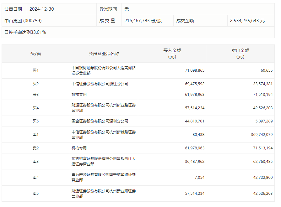
12 月 30 当天,中百集团股价再次上涨,全天换手率33.01%,成交额25.34亿元。根据龙虎榜的数据,该机构净销售额为953.42万元,营业部总销售额为2.78亿元。

根据深交所的公开信息,该股当日上涨偏离值达到10.32%、每天的换手率达到33.01%。
数据显示,上市前五大销售部门总成交额9.70亿元,购买成交额3.41亿元,销售成交额6.29亿元,总净销售额2.87亿元。其中,中国银河证券大连黄河路证券营业部“陈小群”席位净买入7103.82万元,而中信证券杭州新城路营业部净卖出3.70亿元。

长期来看,根据深交所披露,11月28日至12月30日期间,中百集团累计上涨近205%,在严重异常期间,自然人购买了185.14亿元,占85.60%。;其中,中小投资者累计购买103.36亿元,占47.79%。该机构投资者累计购买31.15亿元,占14.4%。

根据中国证监会账户分类标准,中小投资者是指自然人投资者按照中国证监会的分类方式划分股票市值在300万元以下的账户,其他自然人投资者按照中国证监会的分类方式划分股票市值在300万元以上的账户。
中百集团的这一轮飙升与拉动消费政策的预期密切相关。近期高层调整要大力提振消费,全方位扩大国内需求。此外,商务部等7个部门联合发布了《零售创新升级项目实施方案》,推动零售优化升级,注入新动力。
根据Wind数据,截至今年11月29日,中百集团已有33919户股东。

企业频繁提示风险
中百集团在股价持续暴涨的同时,也频繁提示风险。
12月30日晚,中百集团发布股票交易异常波动、严重异常波动、风险警示公告。近期公司经营状况正常,内外经营环境没有重大变化。公司、控股股东和实际控制人不会出现公司应披露但未披露或处于准备阶段的重大事项。经过自查,公司不会出现违反信息公平披露的情况。
此外,公司宣布,近日,公司收到一些投资者在深圳证券交易所互动平台上提问,如“公司是否考虑入股或收购武商集团?”武商集团旗下的超市业务要不要全部注入贵公司?近期公司估值大幅上升,有投资者怀疑公司是否要以变客为主收购武商集团?等一下,股吧里也有关于并购重组概念的评论。为了防止相关信息误导投资者,澄清上述事项:
公司于2024年10月9日和10月25日召开第十一届董事会第八次会议和2024年第四次临时股东大会,审议通过了《关于第一大股东延期承诺的议案》。延期后的承诺是:武汉商联(集团)有限公司将自股东大会审议通过本项提案之日起5年内,力争在满足法律法规和相关监管规则的原则下,灵活运用资产重组和业务调整。 通过委托管理等方式实现两家公司的分业经营,尽快解决两家公司同业竞争问题。
就公司业绩而言,中百集团近年来的下滑趋势并未得到缓解。
数据显示,2023年,中百集团的营业收入仅为116.39亿元,净亏损高达3.38亿元。今年前三季度,公司实现营收81.3亿元,同比下降11.50%;归母净亏损高达3.32亿元。也就是说,三个季度的亏损金额已经接近去年。
中百集团在财务报告中没有明确给出业绩下滑的具体原因。公司只表示,归母净利润大幅下降的主要原因是本期经营利润较去年同期有所下降。
同时,当中百集团持续上涨时,公司重要股东选择大幅减持。
十二月十八日,永辉超市突然宣布,重庆永辉通过集中竞价方式销售中百集团共计6710.1287万股,占其股本的9.87%,销售额约为4.40亿元。截至公告日,永辉超市及其子公司不再拥有中百集团a股。宣布,在此次股权交易中,永辉超市累计确认投资收益约为0.46亿元。
永辉超市表示,这是因为永辉希望专注于主营业务,回收与非核心战略相关的投资。同时,永辉超市强调,这并不影响永辉在湖北门店的正常运营。
本文仅代表作者观点,版权归原创者所有,如需转载请在文中注明来源及作者名字。
免责声明:本文系转载编辑文章,仅作分享之用。如分享内容、图片侵犯到您的版权或非授权发布,请及时与我们联系进行审核处理或删除,您可以发送材料至邮箱:service@tojoy.com




