想象中的现实:苹果专利探索AR / VR投影仪,未来家庭娱乐新选择
2024-10-18
IT 世家 10 月 17 科技媒体日新闻 Patently Apple 于 10 月 15 日本发布博文,报道称苹果获得了一项投影仪专利,用户无需佩戴头部显示,混合和增强现实可以显示在桌子、墙壁等表面。(AR)和虚拟现实(VR)内容。
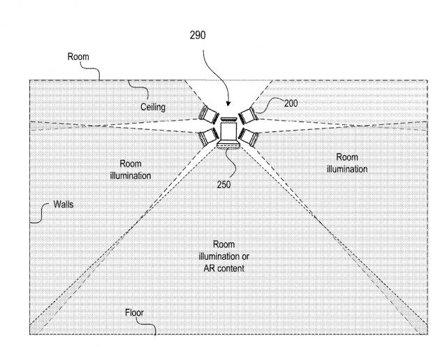
根据苹果的专利描述,它构思的投影仪系统可以包括一个定制的灯泡和一个内置的投影仪,它可以 AR 内容投射到桌面、墙壁和整个房间。
投影仪可以显示低分辨率和高分辨率的内容。高分辨率的内容可能包括操作系统界面、视频会议图像等。,而低分辨率的内容可能是简单的情感增强图像,比如树影或者动物图像,从而提供多样化的视觉享受。
该系统不仅可以提供房间照明,还可以将高低分辨率投射到地板、墙壁和天花板上。 AR 和虚拟现实(VR)图像。
该投影仪系统具有电动功能,可自动调整方向,保证不同表面投影内容,智能增强房间内特定物体,结合投影内容,增强客户体验。IT 这个家庭附有以下相关图片:
本文仅代表作者观点,版权归原创者所有,如需转载请在文中注明来源及作者名字。
免责声明:本文系转载编辑文章,仅作分享之用。如分享内容、图片侵犯到您的版权或非授权发布,请及时与我们联系进行审核处理或删除,您可以发送材料至邮箱:service@tojoy.com




