在雷鸟创新之后,国内又有两家AR厂商布局智能眼镜
点击蓝字 关注我们
8 月 29 日,AR 制造商雷鸟创新宣布与博士眼镜合资公司成立。双方将基于雷鸟创新。 AI AR 眼镜领域的工程设计能力,以及博士眼镜在科学视光、设计、渠道等方面的优势,共同开展新一代 AI 第一款产品将于今年年底发布,包括眼镜的研发设计、销售、营销和服务。
也许是雷鸟创新进军 AI 眼镜起到了很好的示范作用,促进了国内的一些 AR 制造商纷纷跟进和布局智能眼镜领域,并申请了相关专利。(注意:AI 现在眼镜相当于智能眼镜)
叶木科技首先出现,深圳叶木科技有限公司是运营主体,成立于深圳叶木科技有限公司 2023 年 3 月亮,致力于轻量化 AR 中国商业技术中心城市深圳、北京、上海分布着眼镜研发的核心研发人员。
叶木科技在 SIOF 2024 展会的 STEPPER 展区发布了“智能穿戴体验车间”的重量。 28 双眼运动克 AR 眼镜。此外,公司还发布了重量。 20 克的双眼 AR 近眼显示系统,重量为 40 全天可以佩戴克 AR 近视眼镜方案。
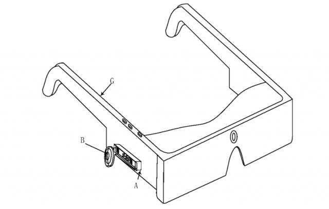
2024 年 7 月 1 日本,叶木科技申请了一项名为“一种音频眼镜及其眼镜套装”的专利, 9 月 20 每天对外公开。
摘要显示,该专利用于一种音频眼镜,包括眼镜框,每个镜框两侧的镜腿部件,以及安装在镜腿部件上的音频部件。音频部件包括:音频线和扬声器,音频线的一端与镜腿部件相连。扬声器从音频线引出镜腿部件的外部,音频线是一种柔软的可塑性结构。
通过上述方法,音频线将扬声器从镜腿部件引入,减小了镜腿的大小,保持了镜腿原有的变形能力,减少了镜腿与用户面部的接触面,提高了佩戴舒适性。而且音频线是柔软的,可以定型。音频线可以根据用户的面部轮廓和耳道口的高度进行优化和弯曲,使扬声器的位置靠近耳道口,减少声音泄漏,保证用户的隐私。与此同时,镜腿可以选择轻薄可变的结构,佩戴舒适,提升用户体验。
下一步是光粒技术的亮相,杭州光粒科技有限公司成立于运营主体, 2017 2008年,总部位于浙江杭州,紧邻浙江大学,是著名的。 AR 眼镜公司。
光粒科技团队的骨干来自浙江大学、美国康奈尔大学等国内外顶尖大学,拥有100多项中国和国际专利。公司专注于消费水平。 AR 在自主研发衍射光波导技术的基础上,眼镜市场推出了轻薄的 AR 眼镜,为用户提供长时间佩戴、大视野、室内外通用的眼镜。 AR 眼镜。
2024 年 9 月 20 日本,光粒科技获得了一项专利授权,名为“具有音频输出功能的智能眼镜”。
摘要显示,该专利是一种具有音频输出功能的智能眼镜。眼镜本身配有放置耳机的位置和主控电路,耳机配有音频元件和通信模块。
当主控电路放置在耳机的位置,并与音频元件的音频传输线连接时,在大功率下将接收到的音频信号导出到音频元件中播放,使音频元件达到类似扬声器的外部效果;当耳机从耳机的位置取出时,通信模块与主控电路建立无线通信连接,在低功率下将从主控电路无线传输的音频信号导出到音频元件播放,从而实现耳机的私人播放功能。可以看出,本申请的智能眼镜可以兼顾音频外放功能和耳机私人播放功能,应用广泛。
写在最后
IDC 数据显示,2023 年全球 AR 眼镜销量为 48 智能眼镜销量为万台。 101 万台。2024 全球年度第一季度 AR 眼镜出货量为 10 万台,同比增长 56%;智能化眼镜的出货量为 26 万台,同比增长 217%
智能眼镜在出货量和增速方面都高于智能眼镜。 AR 难怪眼镜也会出现 AR 厂家心动,从而布局智能眼镜。
文 / 多弗朗明哥
本文没有标注的图片均来源于网络
扫码加客服微信
招商合作|
爆料投稿|
媒体合作|
过去精彩的推荐
VR / AR 星球
本文仅代表作者观点,版权归原创者所有,如需转载请在文中注明来源及作者名字。
免责声明:本文系转载编辑文章,仅作分享之用。如分享内容、图片侵犯到您的版权或非授权发布,请及时与我们联系进行审核处理或删除,您可以发送材料至邮箱:service@tojoy.com




