伊川适龄女孩免费HPV疫苗接种指南(含全县接种点信息)
伊川县融媒体中心●伊川新闻●

宫颈癌是女性常见恶性肿瘤,HPV疫苗接种是预防相关感染最科学有效的手段。记者从县疾控中心了解到,为落实国家免疫规划政策,守护全县适龄女孩健康,近日县教体局、卫健委、疾控中心联合召开专项培训会,正式启动13岁女孩免费HPV疫苗接种工作,为伊川少女送上健康福利!
一、免费接种对象
接种对象:2011年11月10日以后出生、年满13周岁的女孩(不限户籍,外地户籍在伊川居住也可享受)。
接种剂次:2剂次双价HPV疫苗,间隔6个月。
费用全免:疫苗费、接种费均由国家承担,无需家长付费。
接种原则:知情、同意、自愿、免费。
二、3步完成接种!材料别遗漏!
孩子的户口本/身份证(核查出生时间)
预防接种证(绿色小本,丢失可补办)
监护人身份证(未成年人需监护人陪同,证明监护关系)
接种地点:符合条件的女孩可到县直医疗机构预防接种门诊及各乡镇卫生院预防接种门诊咨询接种。接种前家长需签署知情同意书,医生会评估女孩健康状况,确保接种安全。
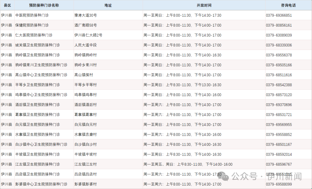
附全县各接种门诊电话 地址

三、家长关心的7个问题,权威解答!
1.孩子14岁了,还能免费接种吗?
本次免费对象为2011年11月10日后出生满13周岁的女孩,14岁以上需自费接种双价、四价或九价疫苗,具体以出生时间为准。
2.已自费打了一针HPV疫苗,剩下的能免费吗?
若符合免费条件且未完成全程接种,剩余剂次可免费;但四价/九价不能转免费二价,需按原计划完成。
3.孩子有过敏史,能接种吗?
接种前需告知医生:对疫苗成分或其他疫苗有严重过敏史(如休克、呼吸困难)的暂缓接种;花粉、食物轻微过敏一般不影响,急性病期、发烧等需推迟接种。
4.接种疫苗后,还需要做宫颈癌筛查吗?
需要!疫苗是“一级预防”,保护率并非100%,不能预防所有宫颈癌类型,成年后(一般25岁起)仍需定期做TCT/HPV筛查,双重防护更稳妥。
5.HPV疫苗能和其他疫苗同时接种吗?
可以!HPV疫苗与其他疫苗可同时接种,不会降低有效性或增加风险,但需在不同部位。
6.HPV疫苗有副作用吗?
HPV疫苗安全性良好,全球已使用超10亿剂。常见不良反应为接种部位疼痛、红肿、瘙痒等轻微症状,几天内自行缓解,严重不良反应极罕见。
7.免费疫苗和自费疫苗有什么区别?
免费疫苗是二价HPV疫苗,可预防高危16型和18型HPV感染;自费疫苗包括四价(预防6、11、16、18型)和九价(预防6、11、16、18、31、33、45、52、58型)。不在免费年龄范围或条件允许的,可选择自费疫苗。
13岁是女孩成长关键期,也是预防宫颈癌的黄金时机。国家为13岁女孩免费接种HPV疫苗,是惠及千万家庭的民生工程,体现对女性健康的关怀。让我们共同行动,积极参与接种,让孩子远离宫颈癌威胁,拥有健康未来!
(记者 翟志明 通讯员 李丽娟)

伊 川 新 闻
伊川县广播电视台 伊川县融媒体中心
新闻发布官方平台
总监制郭明杰监制胡幸凡
编审赵伊曼制作梁文元
原标题:《免费!伊川适龄女孩HPV疫苗抓紧打(附全县接种点地址、电话)》
阅读原文
本文仅代表作者观点,版权归原创者所有,如需转载请在文中注明来源及作者名字。
免责声明:本文系转载编辑文章,仅作分享之用。如分享内容、图片侵犯到您的版权或非授权发布,请及时与我们联系进行审核处理或删除,您可以发送材料至邮箱:service@tojoy.com





