Tripollar初普美容仪:合规大限将至,昔日标杆陷无证困局
来源丨凤凰网财经《公司研究院》
每年315都是消费安全的集中“体检”,也是行业乱象的照妖镜。今年凤凰网财经315系列报道首篇聚焦家用美容仪赛道,直击射频美容仪的合规生死战。
爱美之心人皆有之,家用美容仪普及后,射频美容仪凭借“居家轻医美”的便捷性成美妆护肤热门,被奉为抗衰利器。但产品安全与行业规范的隐忧始终存在,一场合规大考已临近。
2026年4月1日,国家药监局新规将落地,明确射频美容仪为Ⅲ类医疗器械,无证不得生产、进口和销售。这款曾随意入市的“个人护理用品”,如今需经严苛临床验证和注册审批才能合法流通。门槛陡升既是消费者安全的守护,也是企业实力的试金石。
合规淘汰赛中,曾为高端标杆的Tripollar初普,意外陷入“无证”尴尬。
01
距新规落地不足一月,仍未拿证
“院线护理选射频”“家用护理选射频”“海外连续7年销量Top1”——初普一款射频美容仪的宣传语极具诱惑力。

这款售价2750元的产品宣称搭载自研HIRF点状穿刺射频技术,能量精准达真皮深层激活胶原蛋白,一次使用即显V脸效果。凭借痛点功效宣传与海外市场背书,初普迅速收割消费者,成居家抗衰首选。
但监管收紧正给行业戴紧箍咒。家用射频美容仪合规不再是“营销说得通”,而是“政策通得过”。2022年国家药监局已明确将其纳入Ⅲ类医疗器械管理,背后是对产品风险的回应。
上海申宜禾律师事务所李海权律师表示,射频美容仪通过热能作用皮肤深层,存在烫伤、漏电、重金属超标等隐患,直接影响人体组织生理状态,属高风险产品。“我国将其归为Ⅲ类医疗器械,是从源头管控风险,防止美容变毁容。”他补充,全球主流监管机构均将其列为医疗器械,美国归FDA二类,欧盟归IIa类,此次立法是与国际标准接轨的重要举措。
考虑行业转型需求,2024年7月国家药监局将合规截止日期放宽至2026年4月1日,给行业缓冲期。但这对企业是与时间的赛跑,新规落地后无证产品不得生产、进口和销售。
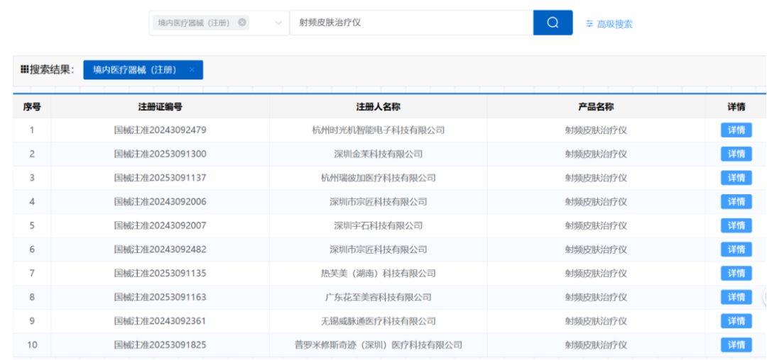
凤凰网财经《公司研究院》查阅国家药监局官网发现,截至发稿,金茉、热芙美、花至等品牌已完成射频皮肤治疗仪注册。

初普未在持证名单中,但其抖音官方旗舰店仍有多款射频美容仪在售。
行业人士皆知,Ⅲ类医疗器械注册流程严苛,周期14—18个月,若需补充临床试验则延长至24—36个月,对企业研发、检测能力和资金投入要求极高。
2024年2月初普曾因天猫店关店、微信公众号更名陷“跑路”传闻,澄清公告称Ⅲ类医疗器械注册工作稳步推进。凤凰网财经以消费者身份咨询客服,对方回应:“射频技术应用于家用美容仪已多年市场验证,技术成熟稳定。国家发布政策后,初普第一时间响应,合规工作按流程推进,后续进展将官方公示。”回应未明确取证进度与时间节点,距2026年4月1日越来越近,初普时间所剩不多。
面对监管重压,初普并非无动作。官网宣称2024年推动技术迭代,推出TriPollar金刻刀美容仪,以“声光电一体”定位试图跳出传统射频监管框架。

来源丨初普官网
但这波“曲线自救”无法掩盖核心射频产品无证的事实,更凸显品牌合规路上的被动与窘迫。
02
曾热销一时,如今合规困境凸显
作为最早将医美热玛吉“搬回家”的高端品牌,初普起点颇高。背靠以色列Lumenis科医人医美背景,手握Pollogen射频技术积累,自带“医美基因”光环。
初普Stop系列曾是现象级爆款,在李佳琦等头部主播直播间创下一小时销量破亿、双十一预售单日成交额1亿美元的战绩。2020年中国市场GMV近10亿元,连续三年稳居天猫“双11”面部美容仪销量前三,是“贵妇美容仪”与高端家用射频赛道标杆。
凭借“以色列进口”“医美大厂背书”“强效抗衰”标签,初普品牌溢价高,普通机型定价超3000元仍供不应求,收获大批忠实用户。
但盛极而衰的伏笔早已埋下。初普风头正盛时,一场大规模产品召回打碎完美形象。2022年,根据《消费品召回管理暂行规定》,初普被要求召回2020年3月—2021年9月进口的第一代Stop Eye型号家用射频美容仪,涉及182215台。召回原因是产品长时间停留同一位置或移动过慢,探头可能温度过高,极端情况致皮肤烫伤。
事后初普承诺免费维修、加装温控器并发布安全使用视频,但召回已暴露其安全与品控漏洞。如今Ⅲ类医疗器械大限将至,技术优势与市场光环在“无证”面前苍白。
李海权律师表示:“根据《医疗器械监督管理条例》,无证生产、销售Ⅲ类医疗器械属严重违法行为。”《条例》第八十一条明确,此类行为将被没收违法所得、产品及工具设备等;情节严重的责令停产停业,10年内不受理相关许可申请,对责任人没收收入并处30%以上3倍以下罚款,终身禁止从事医疗器械生产经营。

来源丨网络
目前初普寄希望于金刻刀产品“错位求生”,试图绕开射频监管,但退出射频赛道等于丢掉成名基本盘,技术优势、品牌心智与用户口碑将大打折扣。一边是无证不能卖、有证拿不到的绝境,一边是放弃射频伤筋动骨的困境,初普陷入两难。
初普面临的已非营销战,而是生死存亡的合规硬仗。美容仪赛道从不缺昙花一现的爆款,能长远发展的永远是把安全放首位、合规刻进骨子里的品牌。随着“居家轻医美”迈入严监管时代,谁能持证上岸、谁将黯然退场,答案即将揭晓。
本文仅代表作者观点,版权归原创者所有,如需转载请在文中注明来源及作者名字。
免责声明:本文系转载编辑文章,仅作分享之用。如分享内容、图片侵犯到您的版权或非授权发布,请及时与我们联系进行审核处理或删除,您可以发送材料至邮箱:service@tojoy.com





