苹果AirPods新专利获批内置摄像头,或为明年上市铺路
07-10 06:57
IT之家7月9日消息,科技媒体AppleInsider于当天发布博文,报道称苹果公司获批一项新专利,该专利聚焦于在AirPods耳机中添加摄像头,目的是提升立体声效果。
郭明錤曾在2024年6月爆料,苹果计划为AirPods引入红外摄像头,以此提升Vision Pro的立体音频效果,之后他又透露苹果计划在2026年推出配备摄像头的AirPods。
IT之家今年3月曾报道过类似的专利,新专利暗示苹果AirPods将配备摄像头,进而进化成能感知环境的智能终端。而最新专利名为“适用于光学系统的波长混合”,这表明苹果公司正在探索和研究这一概念设计。
专利文件提到:
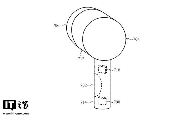
在某些示例中,此处描述的光学系统可能会包含在各种手持或便携式电子设备中,像移动设备和可穿戴设备(例如智能手机、平板电脑、电子手表、健身监测器、健康监测器、耳机或者用户可能佩戴的任何类型的设备,例如袖口、手镯或耳塞)。
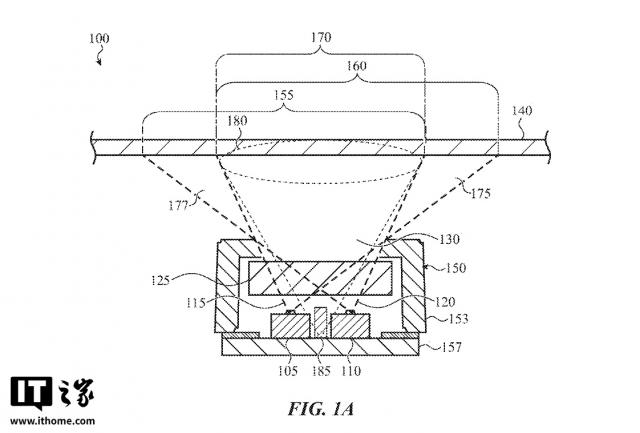
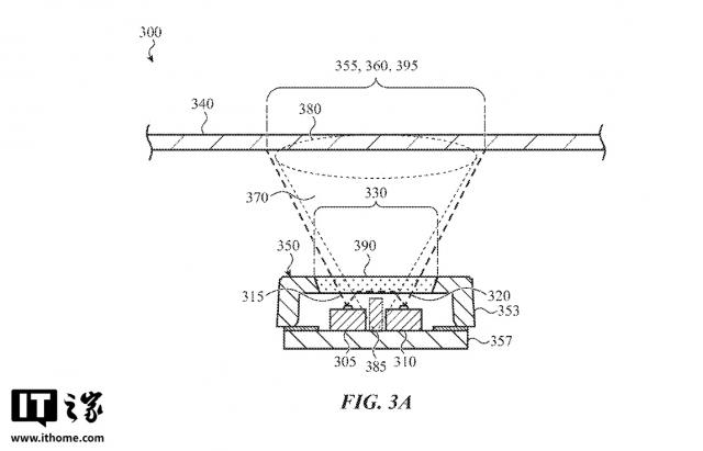
专利还特别关注“更小、更紧凑的电子设备”,这对组件的大小和位置进行了限制。这些组件可概括为光学系统(也就是摄像头)。苹果表示,光学系统将包括检测器或透镜,以及“多个光源,每个光源旨在照亮一个共同的目标”。所以,这些光源会发出光线,摄像头可以看到相应结果。

光学系统能够识别物体的接近,并“确定被观察物质的类型”。例如,摄像头可以轻松检测到用户靠近墙壁或挥手进行手势操作。它还能“判断耳机是否位于用户的耳朵里或放在桌子上”。





本文仅代表作者观点,版权归原创者所有,如需转载请在文中注明来源及作者名字。
免责声明:本文系转载编辑文章,仅作分享之用。如分享内容、图片侵犯到您的版权或非授权发布,请及时与我们联系进行审核处理或删除,您可以发送材料至邮箱:service@tojoy.com




